Twój koszyk jest aktualizowany...
Kontynuuj zakupy
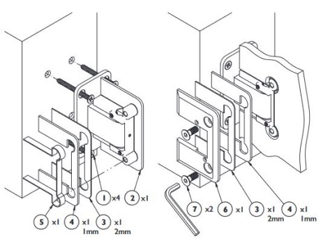
Zawiasy do Twoich nowych drzwi wahadłowych
Aby uzyskać idealnie minimalistyczny wygląd, zawiasy do drzwi wahadłowych montuje się bezpośrednio na gotowym ościeżu ścienno-sufitowym lub na gotowej podłodze. Ościeżnica nie jest wymagana. Zawiasy można zablokować pod kątem 90 stopni w obu kierunkach.
Model PT 100-H ma płynną regulację prędkości zamykania. Końcową fazę domykania można wyregulować oddzielnie. Zawiasy są przeznaczone do drzwi przeszklonych o grubości od 8 do 13 mm, maksymalnej masie 100 kg i maksymalnej szerokości 1000 mm.
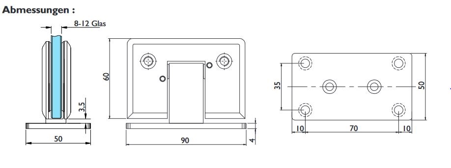
Model GW z litego mosiądzu nadaje się do montażu na ścianie i ościeżnicy. Ogranicznik końcowy jest regulowany co 10°. Zawiasy są przeznaczone do drzwi przeszklonych o grubości od 8 do 12 mm, maksymalnej masie 60 kg i maksymalnej szerokości 1000 mm.





